普宁市人民政府门户网站
网站无障碍  |   适老版
普宁市人民政府
普宁市流沙北街道办事处信息公开指南
来源:本网 发布时间:2019-12-05 15:55 浏览次数:- 【字体:

普宁市流沙北街道办事处信息公开指南

    为更好地向公民、法人或其他组织提供政府信息公开服务,方便公众快速、准确地查找普宁市流沙北街道办事处依法公开的政府信息,根据《中华人民共和国政府信息公开条例》(2019年4月修订版,以下简称《条例》)的规定,制定本指南。

         一、主动公开政府信息

  (一)公开内容

    普宁市流沙北街道办事处主动公开《条例》第十九条、二十条规定的政府信息。主要包括:

      1.街道办事处领导及分工;

      2.街道办事处机构及其主要职能;

      3.街道办事处工作规则;

      4.街道办事处工作报告;

      5.街道国民经济和社会发展计划、专项规划、村庄规划及相关政策;

      6.街道财政预算、决算信息;

      7.重大建设项目的批准和实施情况;

      8.扶贫、教育、医疗、社会保障、促进就业等方面的政策、措施及其实施情况;

      9.环境保护、公共卫生、安全生产、食品药品、产品质量的监督检查情况;

      10.其他需要公开的政府信息。

  (二)公开的方式

    普宁市流沙北街道办事处通过普宁市人民政府门户网站主动公开政府信息。

    普宁市人民政府门户网站(www.puning.gov.cn)开设普宁市流沙北街道办事处信息公开栏目,公众可通过普宁市流沙北街道办事处信息公开目录的引导,查找普宁市流沙北街道办事处主动公开的政府信息。

  二、依申请公开政府信息

        除主动公开的政府信息外,公民、法人或者其他组织可以向本机关申请获取相关政府信息。

  (一)受理机构、时间、地点

       受理机构:普宁市流沙北街道办事处党政办公室  

       办公时间:8:30-12:00,14:00-17:30(节假日除外)

       联系地址:普宁市赤华北路流沙北街道办事处 

 

    联系电话:0663-8370388

    传真号码:0663-8370316

    邮政编码:515300

    互联网申请地址:https://ysqgk.gd.gov.cn/663217/choice

  (二)提出申请

    向普宁市流沙北街道办事处申请获取政府信息的申请人,应当填写《普宁市流沙北街道办事处信息公开申请表》(以下简称《申请表》,见附件1)。《申请表》可以在受理机构处领取,复印有效。

    1.申请人提出的政府信息公开申请应当真实载明下列内容:

  (1)申请人的姓名或名称、有效身份证明、联系方式。

  (2)申请公开的政府信息的名称、文号或者便于行政机关查询的其他特征性描述。所需的政府信息应当描述明确、详尽,有助于受理机构确定信息内容。

  (3)申请公开的政府信息的形式要求,包括获取信息的方式、途径。

  (4)当面申请的,应当出示有效身份证件;通过邮政寄送提交申请的,应随申请表附有效身份证件复印件。

  (5)承诺所获取的政府信息,只用于自身的需要,不得用作他用,不得用于任何炒作及随意扩大公开范围。

  2.申请人可以通过以下方式提出申请:

   (1)当面申请。申请人可到普宁市流沙北街道办事处党政办公室当面提交申请。

联系地址:普宁市赤华北路流沙北街道办事处 

办公时间:8:30-12:00,14:00-17:30(节假日除外)

   (2)书面申请。申请人通过信函方式提出申请的,应当在信封的显著位置标注“政府信息公开申请”字样,以“邮政寄送”方式提交申请。

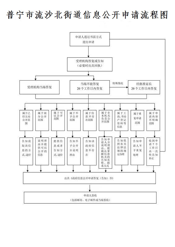
  (三)申请处理

  登记初审。受理机构收到申请后,将进行登记和初审。

       初审内容包括:所需政府信息描述是否明确,形式要件是否完整,身份证明是否真实。

  政府信息公开申请内容不明确的,自收到申请之日起7个工作日内告知申请人作出补正。申请人无正当理由逾期不补正的,视为放弃申请,本机关不再处理该政府信息公开申请。

  经初审申请符合受理各项规定的,将根据不同情况作出答复,详见普宁市流沙北街道办事处信息公开申请处理流程图(附件2)。

  (四)答复

  对于能够当场答复的政府信息公开申请,将当场答复;不能当场答复的,自申请之日起20个工作日内予以答复;确需延长答复期限的,经普宁市流沙北街道办事处信息公开工作机构负责人同意,延长答复时间不超过20个工作日,并告知申请人。本机关征求第三方和其他机关意见所需时间不计算在前款规定的期限内。

  (五)收费

  《条例》第四十二条规定:行政机关依申请提供政府信息,不收取费用。但是,申请人申请公开政府信息的数量、频次明显超过合理范围的,行政机关可以收取信息处理费。行政机关收取信息处理费的具体办法由国务院价格主管部门会同国务院财政部门、全国政府信息公开工作主管部门制定。

  (六)监督保障

  公民、法人或者其他组织认为受理机构未依法履行政府信息公开义务的,可以根据《条例》第五十一条规定,可以向上一级行政机关或者政府信息公开工作主管部门投诉、举报。公民、法人或者其他组织认为行政机关在政府信息公开工作中侵犯其合法利益的,也可以依法申请行政复议或提起行政诉讼。

相关附件: